Goodbye to guides? Sony patents artificial intelligence that will help players who get stuck in games
Sony patents Ghost Player, an artificial intelligence system to help those who don’t know how to advance in their video games.

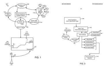
The video game industry is advancing by leaps and bounds month after month and week after week, and a good example of this is a peculiar patent from Sony that has recently been approved. With the aim of helping players who get stuck in their video games without having to rely on external aids such as videos or guides, the Japanese company has created a system whereby, using artificial intelligence, the game “plays itself” to complete both small difficult sections and entire levels.
This is Ghost Player, Sony’s new AI patent to assist players who don’t know how to progress in their games
Although Sony’s Ghost Player patent was registered at the end of 2024, it wasn’t until early 2026 that the World Intellectual Property Organization approved it, as revealed by VGC. Broadly speaking, this unique system is designed to generate a “ghost” of the player that can help them overcome moments they get stuck on, or even entire missions in the games where it is implemented.

What sets this mechanic apart from the aids already present in many video games is the fact that its implementation does not consist of simply a predefined input by the developers, but rather artificial intelligence itself that understands the challenge to be overcome, as well as the intended or optimal solution depending on the situation.
The extent of the assistance received could vary depending on the developers’ wishes: on the one hand, this assistance could be limited to showing the player what to do—similar to the system found in combo challenges in many fighting games—or where to go, while more “hardcore” implementations would serve to make the game “play itself,” physically moving our character and performing all the actions required to win for us. For all practical purposes, it could render text, image, and video guides as we know them obsolete.
An interesting idea, although it is not certain that it will be implemented in the future.
In a way, it is an evolution of the Game Help system, introduced by PlayStation 5 since its launch. This accessibility feature is highly appreciated by those who enjoy the process of unlocking trophies, as it allows them to receive direct visual assistance in the form of videos and images without having to rely on additional devices such as a cell phone or laptop. With a couple of button presses, guides from YouTube or other websites are visible from the console itself.

Related stories
Of course, we must remember that large companies such as Sony, Nintendo, and Microsoft register many different types of patents in anticipation of the future, but this does not necessarily mean that the ideas they register will be used. This is mainly a legal strategy to hoard concepts that may or may not be used in future games and consoles, so nothing is certain.
Follow MeriStation USA on X (formerly known as Twitter). Your video game and entertainment website for all the news, updates, and breaking news from the world of video games, movies, series, manga, and anime. Previews, reviews, interviews, trailers, gameplay, podcasts and more! Follow us now!

Complete your personal details to comment